|
Armazón del Belén.-
Lo principal para el montaje de nuestro Belén es estudiar
el sitio que disponemos para adecuar a él, el tamaño
y tipo de armazón. Debe ser un lugar que se pueda ver
el Nacimiento con toda comodidad, valorar el tiempo que podremos
dedicarle a su montaje.
Adecuar el proyecto, tamaño y estilo a las figuras
que poseemos.
Descontando de las dimensiones del local, el sitio que necesitamos
para verlo cómodamente, tendremos el tamaño
del armazón adecuado. Como medida media del armazón
aconsejamos para una habitación de 3x3 metros, un armazón
de 150 centímetros de fondo por 200 centímetros
de ancho y 200/250 centímetros de alto
(fig. 1). Aunque a veces es aconsejable dar la misma altura
que la habitación para poder calzar los palos verticales
con cuñas arriba y abajo para darle más consistencia
al armazón.

Fig. 1
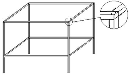
Construcción del armazón.-
Recomendamos para su construcción listones de madera
de 4x4 cm. aunque también podemos construirlo con angulares
metálicos de los que se utilizan en estanterías.
El armazón debe de alojar la plataforma o base del
nacimiento, colocación del celaje y embocadura y soportar
la instalación eléctrica.
La unión entre los distintos palos la llevaremos a
efecto mediante tornillos, clavos y escuadras. (fig. 2)

Fig. 2
Base o plataforma.-
Debe de quedar alojada en el interior del armazón construido,
pudiendo tener las mismas dimensiones que éste o algo
menor. La construiremos de aglomerado, madera de suficiente
grueso para que no ceda ni pandee con el peso del nacimiento.
Irá colocada sobre caballetes, bancos, mesas. etc...
La podemos construir en varios niveles colocando la de mayor
altura más próxima a la embocadura con lo que
daremos más profundidad al conjunto. (Fig. 3)
En Belenes de gran tamaño es conveniente que entre
cada base dejemos unos fosos por los que accederíamos
a los distintos puntos del Belén que serian poco accesible
desde la parte frontal. (Fig. 4)

Fig. 3 ---------
Fig. 4
Embocadura.-
Llamamos así al frontal con el que cerraremos nuestro
nacimiento, el cual será visible al espectador por
una ventana que practicaremos en dicho frontal. (Fig. 5)
Esta ventana debe de permitir la contemplación de todas
las partes del nacimiento que queramos sean vistas y podamos
ocultar otras que no sean necesarias. La altura que recomendamos
para la parte inferior de la ventana de la embocadura puede
oscilar entre 100/110 cm. y la base debe de estar en un plano
inferior a la embocadura.
Al hueco de la ventana, tenemos que darle una altura que permita
ocultar al espectador situado delante del Belén en
una posición normal, la parte más alta del armazón
y las lámparas que colocaremos en el techo del Belén.
Para separar más el Belén del espectador colocaremos
en los cuatro lados de la ventana una visera que le dará
más profundidad.
Podemos construir la embocadura en chapa de tablex, okumen
o aglomerado y aconsejamos de forma rectangular, aunque se
puede hacer de forma ovalada, circular, cuadrada, etc...
Pintaremos la embocadura de colores oscuros, grises, verdes,
azules, etc... en pintura plásticas mate, para que
destaque el fondo iluminado del Belén.
Fig. 5
El celaje.-
Es conveniente dotar a nuestros nacimientos de celaje o cielo.
Lo podemos construir de tela, papel, tablex, etc... procurando
siempre evitar las arrugas que hacen mal efecto
y que las terminaciones de los ángulos de las esquinas
sean curvas. (Fig. 6)
Para el celaje utilizaremos la tela celeste "de sábanas"
que podemos encontrar en tiendas de textil de diferentes anchos.
Esta tela la conservaremos una vez desmontado el nacimiento,
enrollándola alrededor de un cilindro de cartón.
La tela la fijaremos a los travesaños del armazón
por medio de chinchetas y debe de quedar totalmente tensa
para que aparezca a la vista sin ninguna arruga y de forma
uniforme.
Comenzaremos clavando la tela por la parte superior del armazón,
empezando por la parte derecha y tensando fuertemente con
la mano izquierda.
Para evitar los ángulos de las esquinas y conseguirlas
curvas, colocaremos en las esquinas unos travesaños
de 20/30 cm. aproximadamente, sobre los que seguiremos clavando
la tela. Una vez fijada toda la tela por la parte superior,
comenzaremos por la parte inferior, y una vez que esté
lista esta parte, tensaremos la tela y la clavaremos en los
palos verticales delanteros.

Fig. 6
|