MATERIALES:
- Table 0.5 cm grosor
- Cilindros de cartón (papel cocina)
- Láminas de cartón
- Escayola
- Cola
- Pinturas: Chocolate, ocre, verde oliva, tierra, tabaco,
siena natural y gris piedra.
- Soldados plástico 8 cm.
- Antorchas metal 4 cm.
PASOS:
Este año he decidido cambiar el puente de mi castillo
de Herodes así que voy a intentar explicar como lo
he hecho.
El puente lo podemos hacer con tantos ojos como queramos,
yo lo que hecho de dos ojos y medio y uno central por los
que si repetimos el proceso podremos tener tantos ojos como
queramos.
1)
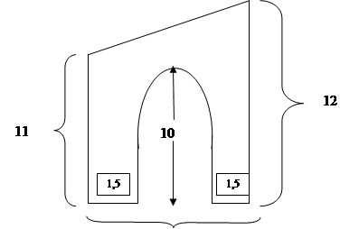
Cortamos el table con forma de rectángulo y le hacemos
el arco en el centro. Después cortamos en la parte
superior en nesga para que el rectángulo no quede completamente
recto y vallamos haciendo la inclinación de la bajada
del puente. Las medidas están en cm y la figura resultantes
seria así:
 
La única pieza que será única es el ojo
central del puente que va al frente y solo hay una pieza.

2)
Cortamos dos piezas en forma de triángulo rectángulo
para la bajada final del puente.

3) Cortamos los cilindros (rollos de cocina) que serán
las columnas a distintas medidas también dos a dos,
excepto la columna pequeña que serán cuatro
las que necesitemos.
14 cm. 12
cm. 9 cm.
4) Pegamos las columnas a las piezas de table que hemos cortado
en el paso 1.
5) Hacemos con un cartón la silueta de las paredes
con la anchura que queremos que tenga el puente en este caso
10 cm. Quedando más o menos un suelo así:
6)
Pegamos el cartón con las paredes de table y ya tenemos
el armazón de nuestro puente.
7) Ahora tenemos que cortar tiras de cartón de 1 cm.
de ancho por 2 cm. de largo para hacer los ladrillos.
8) Pegamos los ladrillos en las paredes del puente y las columnas.
Pondremos ladrillos tanto por fuera como por dentro.
9) En el suelo hacemos ladrillos de 2 cm. por 3 cm. para el
suelo y los pegamos.
10) Por la parte de abajo damos una capa de escayola para
fortalecer el puente.
11) Es turno ahora de los arcos. Hacemos arcos en el cartón
de 1 cm. de grosor hacemos la división de las piedras
y las cortamos para después pegarlas en los arcos del
puente.
12) Una vez pegados les damos unos toques de escayola para
que resalten del resto de los ladrillos del puente y parezca
que tienen relieve.

13)
Ya tenemos hecho el puente ahora toca pintarlo:
Los ladrillos de las paredes los pintaremos de distintos colores
ocre, chocolate, gris piedra y con un pincel seco daremos
unas pinceladas de tabaco y verde para simular las humedades.

Las piedras de los arcos las pintaremos de siena natural con
ocre para que de otra tonalidad y resalten algo mas que los
ladrillos.

Y
por último el suelo de la bajada aunque utilizaremos
la misma técnica que en los ladrillos en las pinceladas
con el pincel seco utilizaremos además el color tierra.
14) Añadimos unas antorchas al puente que darán
luz a los soldados.

RESULTADO
FINAL:
El puente queda listo para dar paso al Castillo de Herodes
y su gran ejercito.

Espero que os guste.
|